BMW kompaniyasi o‘z avtomobillarini ta’mirlash bilan shug‘ullanuvchi xususiy avtomexaniklar xizmatidan voz kechishi mumkin.
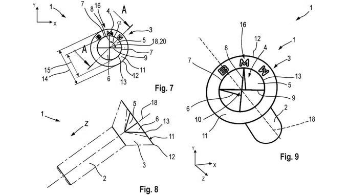
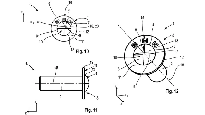
Qayd etilishicha, kompaniya o‘zining logotipi shaklida bo‘lgan dumaloq vintlarni patentladi. Bu haqda CarBuzz xabar berdi.
Bu vintlarni oddiy uskunalar bilan burab bo‘lmaydi va endi ularni faqat rasmiy dilerlar yechishi mumkin.



Bu vint kallagi, aniqrog‘i, oltiburchak kallakli vintning bir turi. Odatdagi yassi buragich, Phillips xochsimon buragich yoki hatto Robertson kvadrat shaklidagi va oltiburchak buragich o‘rniga, bu yerda BMWning tarixiy dumaloq logotipi mavjud.
To‘rtta bo‘limning ikkitasi buragich kirishi uchun chuqurlashtirilgan, ikkitasi esa tekis qilingan. Vint kallagining chetiga BMW logotipi o‘yib tushirilgan. Bu shunchaki sizga ushbu g‘alati narsani kim yaratganini eslatib qo‘yish uchun.
Patent salon ichidagi va konstruktiv jihatdan muhim joylardagi mahkamlagichlarga, jumladan o‘rindiqlar va kuzov ulanmalariga taalluqlidir.
Ta’kidlanishicha, bu juda ko‘p ustaxonalarning xizmat ko‘rsatish imkoniyatlarini bevosita cheklaydi.
Agar BMW bu tizimni qo‘llashga qaror qilsa, siz kerakli asboblar to‘plamini Harbor Freight yoki BMW rasmiy dileridan tashqari boshqa joydan sotib olish uchun ancha vaqt o‘tadi.
Avvalroq BMW AQSh va Germaniyada 330 mingdan ortiq avtomobillarini qaytarib olishi haqida xabar berilgandi.
Qayd etilishicha, qaytarib olishga starter tizimidagi nuqson sabab bo‘lib, ushbu nosozlik mashinaning yonib ketishiga olib kelishi mumkin.



